Skinfolds represent an anthropometric-specific property used to describe body composition according to the 5th level of organisation: the whole-body level(Reference Prado, Gonzalez and Norman1). They are derived from measurements taken on the individual’s body surface, which determine the thickness of a double layer consisting of skin and subcutaneous adipose tissue at defined anatomical sites(Reference Ripka, Cintra-Andrade and Ulbricht2). These measurements can then be used in a qualitative approach to assess body composition and monitored longitudinally as indicators of variations in body fat, as they are strongly associated with parameters related to health and athletic performance(Reference Campa, Coratella and Petri3). Alternatively, they can be used in mathematical models to quantify components belonging to other levels of organisation of body composition, such as the molecular (2nd) or tissue system (4th) level, thus estimating fat mass or adipose tissue mass, respectively(Reference Heymsfield4,Reference Serafini, Charrier and Izzicupo5) .
Although alternative methods, such as ultrasound, have been explored to assess skinfold thickness, it remains a strictly anthropometric measure that can only be obtained with callipers. These instruments compress the skinfolds with a standardised mechanical pressure, equivalent to that applied when pinching with the thumb and index finger(Reference Cerullo, Franchi and Sampieri6). Callipers serve as a support for the operator’s hand, since although they can form the skinfold, they cannot quantify it(Reference Cintra-Andrade, Brito and Freire-Correia7). Over the years, numerous skinfold callipers have been developed and employed in the literature, yet no study has systematically organised them based on their defining features.
In contrast, other methods for assessing body composition classify their instruments into specific categories. For example, in bioelectrical impedance analysis, devices are grouped either by technology (hand-to-hand, leg-to-leg, foot-to-hand and direct segmental) or by frequency (single-frequency and multifrequency)(Reference Campa, Gobbo and Stagi8). Establishing similar classifications for skinfold callipers is important, particularly in light of advances in both conventional and digital anthropometry and the ongoing evolution of calliper designs. Identifying key physical and mechanical features enables the evaluation of potential similarities and differences among instruments. Therefore, this report aims to systematically organise skinfold callipers into categories and configurations based on their physical-mechanical properties and characteristics.
Development
The skinfold calliper is a specialised anthropometric instrument used to measure skinfold thickness. Notably, more than twenty callipers have been proposed over a 100-year journey of advancements in skinfold assessment and human body composition (Fig. 1)(Reference Cintra-Andrade, Ripka and Heymsfield9–Reference Schmidt and Carter11). These instruments were developed by manufacturers in Asia, Europe, Latin America and North America. Early models were structurally rudimentary and were discontinued in the 1950s, after James Mourilyan Tanner (1920–2010) introduced a prototype calliper optimised with helical extension spring kinematics in 1953, which has since been considered the defining mechanical feature of a skinfold calliper(Reference Cintra-Andrade, Ripka and Heymsfield9). Conversely, callipers that do not incorporate this principle are limited to a conventional precision instrument for measuring rigid, opposing surfaces. Therefore, the classic study by Edwards et al. (Reference Edwards, Hammond and Healy12), published in the British Journal of Nutrition in 1955, represents a milestone in the theoretical foundation of skinfold callipers.

Fig. 1. Callipers historically used to measure skinfold thickness (1920s–2020s).
Skinfold callipers: systematic organisation by category and configuration
For decades, skinfold callipers have been classified according to their application settings: clinical or scientific. However, this approach, which originated in Brazil, is unfounded, influenced by commercial interests, and, most importantly, disregards critical physical-mechanical properties and characteristics(Reference Cintra-Andrade, Ripka and Heymsfield9). In this report, we propose the first systematic organisation of skinfold callipers based on these attributes. Thus, in our methodological framework, properties refer to the structural components present in all skinfold callipers, such as the jaws, springs and dial, whereas characteristics describe measurable aspects associated with these properties, such as jaw surface area, spring force and dial type and resolution. Consequently, skinfold callipers can now be organised into three categories: Original, Generic and Hybrid. These categories will be detailed in the following sections.
Original skinfold callipers: the reference instruments
The original skinfold callipers exhibit a specific physical-mechanical configuration based on a set of well-defined structural properties and functional characteristics, which constitute a reference standard. These key parameters include the lever class, jaw surface area, spring attachment point and angle, downscale force and pressure and dial type and/or resolution, among others. In 2023, the Harpenden ™ (Baty International), Lange ™ (Beta Technology) and Slim Guide ® (Creative Health Products) skinfold callipers were designated as reference models, establishing the three configurations: Type A, Type B and Type C, respectively(Reference Cintra-Andrade, Ripka and Heymsfield9). These are presented below:
Original Type A skinfold calliper (Fig. 2): Designed with a third-class lever, the physical structure and mechanical components are metal. The jaws are rectangular with a surface area of 90 mm2 (6 × 15 mm). Two extension springs are installed parallel and obliquely on the sides of the rods and in front of the pivot pin. The dial is an analogue indicator with a resolution of 0·2 mm and a range of 0–80 mm. The mean static downscale force and pressure are 743 ± 12·9 g and 8·25 ± 0·3 g/mm², respectively, at 10–50 mm intervals(Reference Cintra-Andrade, Ripka and Heymsfield9,Reference Schmidt and Carter11) .

Fig. 2. Original Type A skinfold calliper: The Harpenden ™ .
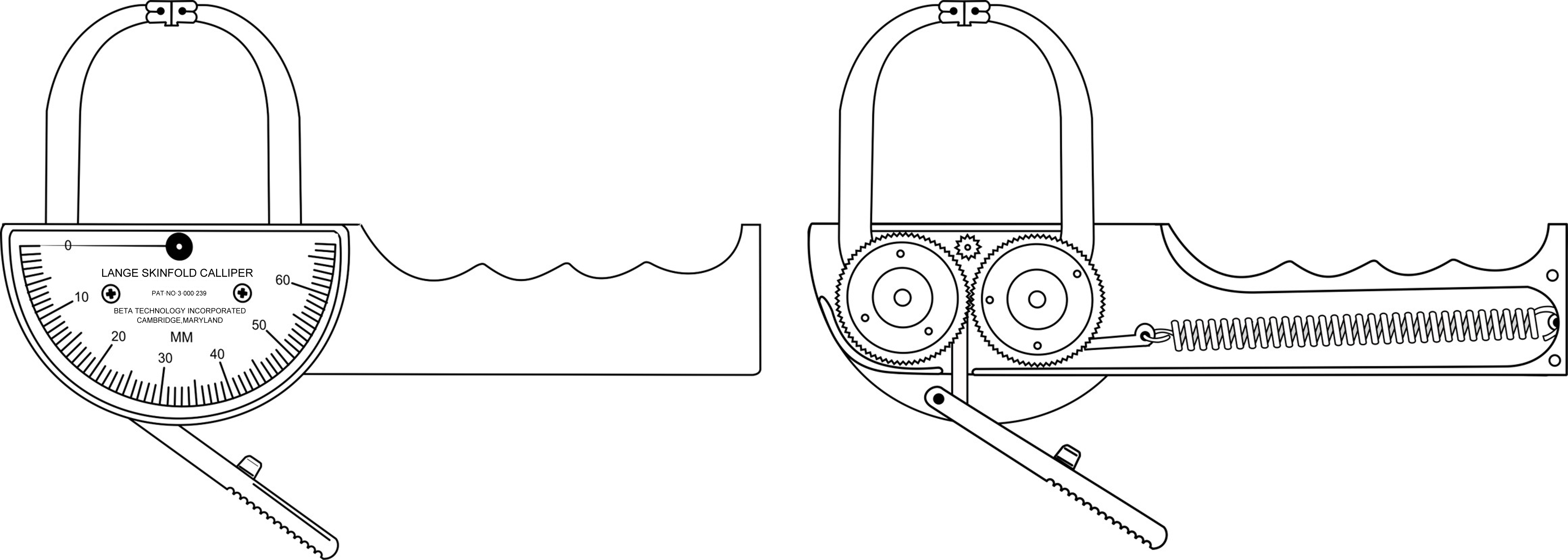
Original Type B skinfold calliper (Fig. 3): Designed with a first-class lever, the physical structure and mechanical components are metal. The jaws are rectangular with a surface area of 30 mm² (5 mm × 6 mm). A single extension spring is installed transversely to the handle and a rod that connects to the trigger-driven gears. The dial is a semicircular analogue scale with 1·0 mm resolution and a range of 0–60 mm. The mean static downscale force and pressure are 250 ± 6·3 g and 8·37 ± 0·2 g/mm², respectively, at 10–50 mm intervals(Reference Cintra-Andrade, Ripka and Heymsfield9,Reference Schmidt and Carter11) .

Fig. 3. Original Type B skinfold calliper: The Lange ™ .
Original Type C skinfold calliper (Fig. 4): Designed with a third-class lever, the physical structure is plastic, and the mechanical components are metal. The jaws are rectangular with a surface area of 91 mm² (7 mm × 13 mm). Two extension springs are installed parallel and vertically on the sides of the rods and in front of the pivot pin. The dial is an analogue linear scale with 1·0 mm resolution and a range of 0–80 mm. The mean static downscale force and pressure are 683 ± 23·7 g and 7·51 ± 0·3 g/mm², respectively, at 10–50 mm intervals(Reference Cintra-Andrade, Ripka and Heymsfield9,Reference Schmidt and Carter11) . Additional information about the original skinfold callipers is presented in Table 1.

Fig. 4. Original Type C skinfold calliper: The Slim Guide ® .
Table 1. Original, generic and hybrid skinfold callipers described according to the new systematic organisation

BRA, Brazil; ITA, Italy; PRT, Portugal.
Note: Pressure and force: static downscale. *Static upscale pressure. N/A: not attributed. N/R: Not reported by the manufacturer or in the literature. The Lafayette® calliper was discontinued in 2004.
Since the 1970s, the physical-mechanical configurations of the Harpenden® and Lange™ skinfold callipers, proposed by Edwards et al. (Reference Edwards, Hammond and Healy12) in 1955 and Lange and Brozek(Reference Lange and Brozek13) in 1961, respectively, have been widely adopted internationally as the main reference standards for the development of new skinfold callipers(Reference Cintra-Andrade, Ripka and Heymsfield9). Consequently, the generic and hybrid categories, corresponding to equivalent and combined variants of these instruments, constitute an expansion of the original category, as presented and described below:
Generic skinfold callipers: the equivalent instruments
The generic skinfold callipers have a typical physical-mechanical configuration based on an original skinfold calliper, such as Holway® (Holway Anthropometric Equipment), Lafayette® (01127A, Lafayette Instrument Company) and Cescorf® (Innovare-4™, Cescorf Equipment), which can now be classified as Type A, Type B and Type C generic skinfold callipers, respectively. The term generic does not imply inferior quality, but rather callipers that have properties and characteristics identical or equivalent to their original counterparts. However, potential differences in performance or compliance were not explored in this scientific report, as they are beyond its scope, which is limited to the organisation of skinfold callipers. Furthermore, for commercial regulatory contexts, this analysis should be systematically evaluated by federal agencies specialising in metrology, such as the US National Institute of Standards and Technology, among others.
Some generic skinfold callipers within the same configuration, such as Holtain® (Holtain), although mechanically similar, may present structural inconsistencies compared with the original skinfold callipers. Thus, researchers have suggested that these differences are primarily due to physical factors, such as the spring attachment point and angle and the jaw surface area, as well as aspects related to the quality, condition and integrity of the pivot components (e.g. screw, washer or gear) and the calibration procedures employed by the manufacturers(Reference Cintra-Andrade, Ripka and Heymsfield9,Reference Schmidt and Carter11) . Comparative studies indicate that, in some generic callipers, such structural deviations do not appear to significantly compromise functional performance. Lohman et al. (Reference Lohman, Pollock and Slaughter14) demonstrated high inter-operator agreement using skinfold callipers with the same physical-mechanical configuration. Schmidt and Carter(Reference Schmidt and Carter11) and Esparza-Ros et al. (Reference Esparza-Ros, Moreira and Vaquero-Cristóbal15) reported that some original and generic skinfold callipers provided statistically equivalent skinfold measurements. However, skinfold callipers cannot be used interchangeably to measure skinfold thickness and subsequently assess body adiposity(Reference Cintra-Andrade, Ripka and Heymsfield9,Reference Schmidt and Carter11,Reference Lohman, Pollock and Slaughter14,Reference Esparza-Ros, Moreira and Vaquero-Cristóbal15) .
The generic skinfold callipers manufactured by Cescorf® have received international recognition(Reference Esparza-Ros, Vaquero-Cristóbal and Marfell-Jones16). Significant improvements in mechanical performance, especially in the Type A models, were groundbreaking. The pivot components are now made of polyacetal to reduce the coefficient of friction, thus allowing more elastic energy to be available in the two springs during the downscale actions(Reference Cintra-Andrade, Ripka and Heymsfield9). In addition, because the two metal rods are connected in parallel by the pivot and are not convergent, the upper fixed rod now has a slight sinuosity that, according to the manufacturer, allows the jaws to align harmoniously. Another Type A model also features movable jaws that better adapt to the skinfold, while some have been optimised with a linear scale, replacing the analogue dial indicator. In this context, based on the 1979 study by Jones et al. (Reference Jones, Marshall and Branson17), an improved generic Type A skinfold calliper with a digital dial indicator was introduced by Cescorf® in 1985, pioneering this development in Latin America. However, due to import restrictions on this component, production was later discontinued and only resumed in 2016. The ease of reading the measurement represents a notable strength of the device. Despite this, the reliability and cost-effectiveness of this calliper are questionable, given the dial indicator’s susceptibility to impacts and the frequent need for calibration. Although this procedure can be performed by the operator using the Gauge-Block provided in the case, in most situations, it still requires manufacturer intervention, resulting in additional shipping costs(Reference Cintra-Andrade, Ripka and Heymsfield9). In 2025, an updated version of this skinfold calliper was introduced, incorporating an improved digital dial indicator, which, according to the manufacturer, offers greater metrological stability. Finally, the generic Type C skinfold calliper from the same manufacturer has been progressively optimised in four versions over the past 15 years. Notably, its structural dimensions have been ergonomically compacted, and the spring attachment angle and jaw area have been reduced. Therefore, static and dynamic calibration studies, predominantly based on load cells, among other reference metrological methods, should be conducted on all these generic skinfold callipers to assess the effectiveness and practical implications of the aforementioned improvements in skinfold thickness measurement.
Hybrid skinfold callipers: the combined instruments
The hybrid skinfold callipers have an atypical physical-mechanical configuration based on two original skinfold callipers. The Lipowise® (Wisify Tech) represents the first generation of skinfold callipers developed by integrating the key physical and mechanical characteristics of the Type A and Type B configurations, such as the jaw surface area and force transmission system, respectively(Reference Cintra-Andrade, Ripka and Heymsfield9). Notably, the crucial difference lies in how the spring force is kinematically transmitted and applied: Lipowise® converts the spring force into torque through a lever shaft on the same rod, while Lange® applies the force directly and symmetrically through a 1:1 gear system that connects the rods. Therefore, given its hybrid nature, no typical configuration (Type A, Type B or Type C) can be attributed to instruments in this category. Furthermore, the Lipowise® calliper incorporates technological innovations, including digital measurement automation linked to a smartphone app via Bluetooth (Reference Cintra-Andrade, Ripka and Heymsfield9). Finally, similar improvements are being introduced in other anthropometric instruments, such as ultrasonic stadiometers. Recently, Brazilian researchers validated a portable device developed in South Korea to measure standing stature in adults(Reference Cintra-Andrade, Alves Martins and Freire-Correia18).
Absolute differences between the original and hybrid skinfold callipers have recently been documented(Reference Esparza-Ros, Moreira and Vaquero-Cristóbal15,Reference Leão, Clemente and Silva19) . Esparza-Ros et al. (Reference Esparza-Ros, Moreira and Vaquero-Cristóbal15) demonstrated that the Lipowise® calliper provided skinfold measurements at eight sites that were statistically equivalent to those obtained with the Harpenden® calliper. Similarly, Leão et al. (Reference Leão, Clemente and Silva19) reported no significant differences between these instruments. However, no studies have directly compared the Lipowise® and Lange™ callipers. Furthermore, although the Lipowise® incorporates features of both Type A and Type B configurations, the available evidence is limited to comparisons with the Harpenden®, so it is not yet possible to precisely determine which configuration most closely matches its functional performance. Future studies should address this issue.
The organisational structure of skinfold callipers into categories and configurations provides a comprehensive approach that consolidates the instruments into a single, coherent classification. Figure 5 schematically illustrates this paradigm based on the critical physical-mechanical characteristics of the original models, including lever class, jaw surface area, spring force and static downscale pressure. Notably, although the generic skinfold callipers presented in Fig. 5 were selected by the author for convenience, their inclusion was determined by objective attributes rather than historical or commercial considerations.

Fig. 5. Organisation of skinfold callipers by category and configuration.
Skinfold callipers: instrumental description and incremental evidence
The most commonly used skinfold callipers in research, clinical and field settings were described and systematically organised into categories and configurations based on their physical and mechanical properties and characteristics (Table 1). Instruments recognised by international groups specialising in anthropometry and body composition, such as the International Society for the Advancement of Kinanthropometry and the Global Institute for Health and Body Composition, respectively, were included, as well as those used in studies that characterised population anthropometric profiles or proposed predictive regression equations based on skinfold thickness. Furthermore, criteria such as commercialisation and adoption in various geographic and socio-economic contexts were also considered, with priority given to skinfold callipers with the largest market share in developing and developed countries, such as Brazil and the USA, respectively. Finally, an observational and comparative analysis was also conducted using the original skinfold callipers as a reference to categorise the remaining callipers as generic or hybrid.
Sixteen skinfold callipers were described in Table 1: three original, twelve generic and one hybrid. Brazil and the USA lead industrial production. Some manufacturers have introduced multiple generic models within the same configuration. This variety is notable in Brazilian product lines such as Avanutri®, Cescorf®, Prime Med® and Sanny®. However, these additional instruments were not included in this report. Most skinfold callipers are metallic, relatively lightweight, and feature a semicircular or linear scale dial with a 1·0 mm resolution (Table 1). Furthermore, most commercially available generic skinfold callipers are predominantly based on the Type A configuration. Finally, driven primarily by international accreditation courses in anthropometry from the International Society for the Advancement of Kinanthropometry, which currently has members in eighty-five countries, both original and generic Type C skinfold callipers are frequently used in clinical settings(Reference Cintra-Andrade, Ripka and Heymsfield9).
The jaw surface area and spring force were reported as the main physical and mechanical characteristics for selecting a skinfold calliper, since the upscale pressure of 10 g/mm² and the downscale pressure of 8 g/mm² may be confounding factors, as they are obtained with different combinations of force (g) and area (mm²)(Reference Cintra-Andrade, Ripka and Heymsfield9). However, no manufacturer publicly discloses these technical specifications. We contacted customer service for more details. Those who responded to our inquiries cited unavailability or confidentiality as reasons for not disclosing the information. Consequently, only 31 % of the instruments were fully described (Table 1). Indeed, although these variables could have been determined through our own analyses, we emphasise that this gap highlights a substantial deficiency in the availability of technical information provided by manufacturers. Furthermore, calibration studies are scarce in the specialised literature and are limited to a few skinfold callipers(Reference Schmidt and Carter11).
Notably, over the last century, the skinfold measurement technique has been extensively explored and has well-defined standards(Reference Ripka, Cintra-Andrade and Ulbricht2,Reference Cintra-Andrade, Brito and Freire-Correia7) . Therefore, the construction, calibration and maintenance of skinfold callipers must be standardised and regulated internationally based on the category and physical-mechanical configuration. To this end, the technical manual for commercially available callipers must also be updated. Manufacturers must determine and provide the following: category (Original, Generic or Hybrid); configuration (Type A, Type B or Type C); material (metal or plastic); lever class (first, second or third); jaw surface area (mm²); static downscale force (g) and pressure (g/mm²); dial type (scale or indicator); resolution and measurement range (mm); and weight without case (g). Some field calibration procedures have been proposed. The Gauge-Block Test and Scale Test are recommended to assess the accuracy (mm) and pressure (g/mm²) of skinfold callipers, respectively(Reference Cintra-Andrade, Ripka and Heymsfield9). Despite this, repairing or replacing critical components, such as the jaws, spring, pivot and dial, remains challenging, particularly in clinical and field settings, as it requires technical expertise and specialised instruments. Consequently, manufacturers should be encouraged to provide ongoing, affordable maintenance services, preferably free of charge, to ensure the functionality, reliability and longevity of skinfold callipers(Reference Cintra-Andrade, Ripka and Heymsfield9).
Researchers have described important systemic differences among skinfold callipers(Reference Schmidt and Carter11,Reference Lohman, Pollock and Slaughter14,Reference Esparza-Ros, Moreira and Vaquero-Cristóbal15,Reference Cyrino, Okano and Glaner20,Reference Gruber, Pollock and Graves21) . Cintra, Ripka and Heymsfield(Reference Cintra-Andrade, Ripka and Heymsfield9) indicated in a scientific report that any original, generic or hybrid skinfold calliper, under favourable calibration conditions, can be used to assess body adiposity based on the comparison of skinfold thicknesses over time. However, based on mathematical prediction models and normative reference scales, the same skinfold calliper employed in the original studies should be used. Thus, the regression equations proposed by Durnin and Womersley(Reference Durnin and Womersley22) and Jackson and Pollock(Reference Jackson and Pollock23) to estimate body density and convert it into body fat percentage are important examples. They should be used based on skinfold thicknesses measured with original Type A and Type B skinfold callipers, respectively, or, when this is not possible, with their generic equivalents. A contrary approach results in significantly overestimated or underestimated relative and absolute values(Reference Cyrino, Okano and Glaner20,Reference Gruber, Pollock and Graves21) , since the Harpenden® calliper applies approximately three times more static downscale force than the Lange™ calliper (743 g v. 250 g, respectively) to the subcutaneous tissue, while the Slim Guide® calliper applies 683 g, comparable to the force exerted by the Harpenden® calliper(Reference Cintra-Andrade, Ripka and Heymsfield9,Reference Schmidt and Carter11) . This has a direct impact on skinfold thickness measurement(Reference Cintra-Andrade, Ripka and Heymsfield9,Reference Schmidt and Carter11,Reference Esparza-Ros, Moreira and Vaquero-Cristóbal15) . Correction factors have been proposed as suitable alternatives to original and generic skinfold callipers(Reference Gruber, Pollock and Graves21,Reference Okano, Carvalho and Cyrino24) . When this is neglected by anthropometrists and researchers, the systematic bias produced by the calliper-equation conflict can affect resting energy expenditure estimated from fat-free mass derived from fat mass determined by skinfold thickness(Reference Cunningham25,Reference Tinsley, Graybeal and Moore26) . Indeed, this represents a relevant practical implication that future studies should directly address. Furthermore, inaccurate anthropometric measurements can also compromise the accuracy of body composition estimates. Machado et al. (Reference Machado, Silva and Vaquero-Cristóbal27) observed significant variations between skinfold thicknesses at eight selected sites, obtained by anthropometrists with different levels of experience, resulting in substantial errors in the estimation and classification of total body adiposity. Therefore, standardised protocols, calibrated instruments and continued specialisation are critical factors in improving the skinfold technique and, consequently, data interpretation and health recommendations(Reference Ripka, Cintra-Andrade and Ulbricht2,Reference Cintra-Andrade, Brito and Freire-Correia7,Reference Machado, Silva and Vaquero-Cristóbal27) .
Although the proposed organisational framework for skinfold callipers represents a significant conceptual advance, some limitations should be acknowledged. In particular, its practical application across different scenarios and contexts still depends on close cooperation between manufacturers, metrological institutions and scientific societies to establish technical standards based on critical physical-mechanical specificities. This article therefore urges manufacturers to clearly report the discussed characteristics of callipers, ensuring their proper classification and enabling the evaluation of their validity in anthropometric measurement. Likewise, researchers are encouraged to provide and disclose this information whenever appropriate. Finally, comparative studies between different instruments, conducted under standardised calibration conditions and involving diverse population samples, are essential to support their integration into international guidelines.
Conclusion
This report proposed an innovative organisation of skinfold callipers into three categories (Original, Generic and Hybrid) and three configurations (Type A, Type B and Type C), based on physical-mechanical properties and characteristics, thus providing a systematic approach to their use and technical support for choosing the most appropriate calliper in different contexts of body adiposity assessment. Given its structured, integrative nature and its foundation in objective criteria, this proposal can therefore be referred to as The Cintra Classification. Finally, we also suggest that skinfold callipers be described in the literature based on their category, configuration, trade name and/or model, manufacturer and country, for example: Original Type B skinfold calliper (Lange ™ , Beta Technology ® ).
Acknowledgements
The authors would like to thank Brazilian graphic designer Jackson Ribeiro Lima for producing the figures in this report.
The authors declare no financial support.
J. C. conceived the idea and wrote the manuscript. F. C. wrote the manuscript. T. L. and S. H. critically reviewed and edited the manuscript. All authors approved the final version.
The authors declare that they have no conflicts of interest related to the manufacturers of the skinfold callipers.





